LG a publicat un brevet pentru un design inovator de telefon rulabil
În context: Poate părea ieri, dar divizia de telefoane a LG a ieșit din activitate în aprilie 2021, luând unele dintre cele mai inovatoare modele pliabile/rulabile pe care le-am văzut vreodată cu ea. Oricât de cool ar fi fost acele modele, au fost poate prea sălbatice pentru binele lor și nu s-au prins niciodată, pecetluind soarta diviziei. Sau a făcut-o? Noile dosare de brevet arată că LG poate avea încă câteva cărți de jucat.
Pentru o reîmprospătare rapidă, LG lucra la acest concept de smartphone rulabil sălbatic, numit în mod adecvat „LG Rollable”. A ajuns chiar și la stadiul de prototip, dar proiectul a fost în cele din urmă abandonat când LG și-a luat rămas bun de la piața smartphone-urilor.
Telefonul a câștigat o atenție mai mare a presei un an mai târziu, în 2022, când a apărut o recenzie practică de la BullsLab. Dispozitivul avea un ecran care se putea extinde de la un afișaj de 6,8 inchi la o mini-tabletă de 7,4 inchi. De asemenea, avea un procesor Snapdragon 888 cu 12 GB RAM și o baterie de 4.500 mAh.
Cu toate acestea, acum se pare că LG Display, filiala de producție a ecranelor a LG Group, a schimbat în liniște tehnologia de afișare rulabilă. Cel mai recent brevet al lor, depus în octombrie 2023 și publicat luna aceasta, descrie un sistem magnetic inteligent pentru a menține ecranul OLED extensibil neted și fără șifonare.

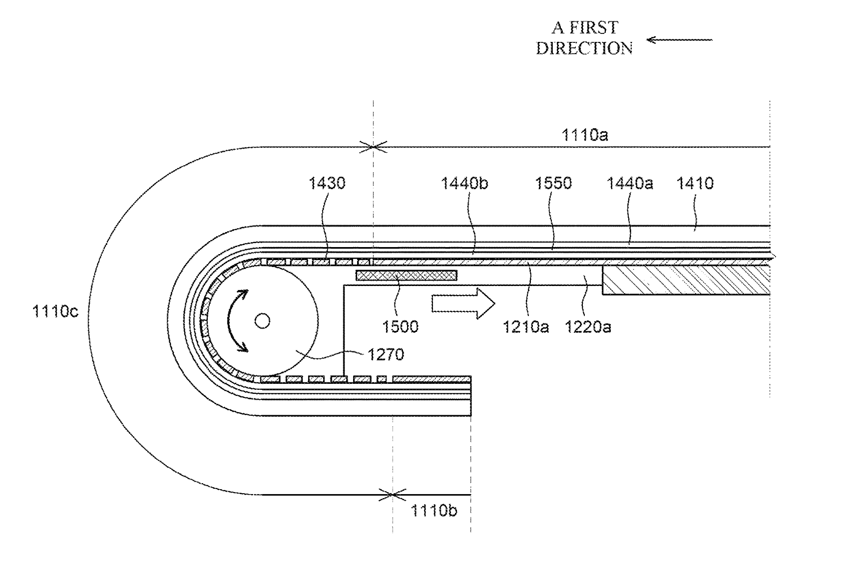
Iată cum funcționează: o foaie magnetică este adăugată în spatele afișajului, în timp ce magneții sunt încorporați în cadrul dispozitivului. Această forță magnetică ajută la netezirea oricăror riduri care se pot forma atunci când ecranul este extins sau retras, permițând afișajului să revină mai rapid la o stare netedă, netedă.
Cererea de brevet de 21 de pagini include chiar și scheme detaliate care arată modul în care această tehnologie de afișare rulanta ar putea fi adaptată atât pentru dispozitive de dimensiunea smartphone-ului, cât și pentru formate mai mari.

Înainte de a fi prea entuziasmat, este important să rețineți că LG nu a făcut niciun anunț oficial despre relansarea eforturilor sale de smartphone. Producătorii de telefoane depun brevete tot timpul, mai ales pentru a-și proteja proprietatea intelectuală. Deci, șansele sunt extrem de mici aici.
Totuși, este greu să nu simți o stropire de entuziasm la gândul la revenirea LG la jocul pentru smartphone-uri. La urma urmei, este aceeași companie din spatele unor pietre ciudate precum LG Wing cu ecran dublu, LG G Flex 2 curbat și afișajul secundar detașabil de pe LG V60 ThinQ.
Un telefon rulabil cu afișaj extensibil s-ar potrivi perfect cu înclinația LG pentru design unic, futurist. Și cine știe, poate că această tehnologie patentată s-ar putea găsi într-un dispozitiv de la alt producător dacă LG decide să o licențieze.
