Un nou sistem haptic de feedback și declanșare pentru a provoca Sony?
Perspectiv: Unul dintre avantajele pe care consolele PlayStation 5 le au față de mașinile din seria Xbox este controlerele lor fantastice DualSense Wireless, care oferă feedback haptic avansat și declanșatoare adaptive. Cu toate acestea, un brevet recent descoperit sugerează că Microsoft ar putea lucra la un controler care ar putea fi la fel de bun, sau chiar mai bun, decât oferta Sony.
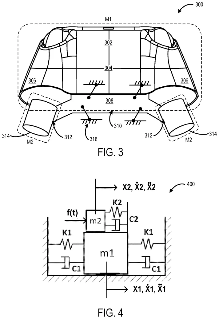
Noul brevet, intitulat „Tuning haptic feedback of a device”, a fost descoperit de Tech4Gamers. Descrie motoarele haptice din carcasa unui controler care se mișcă mai degrabă decât să fie atașate rigid în mânere, care este designul actual al controlerelor din seria Xbox.
Controlerele haptice descrise în brevet utilizează dispozitive de acționare avansate, cum ar fi motoarele liniare sau cu bobină vocală, care se mișcă în carcasa lor pentru a genera feedback tactil precis. Aceste actuatoare sunt montate pe mecanisme care le permit să vibreze sau să se deplaseze de-a lungul unor axe specifice. Controlând direcția și amplitudinea acestor mișcări, controlerul creează o gamă largă de senzații, cum ar fi impacturi, texturi sau efecte asupra mediului, sporind imersiunea utilizatorului.
Mișcarea motoarelor haptice este calibrată cu atenție pentru a simula forțe și vibrații realiste. De exemplu, schimbările mici și rapide ar putea reproduce senzația de mers pe pietriș, în timp ce mișcările mai mari și mai lente ar putea simula recul unei arme.

Controlerul dispune, de asemenea, de declanșatoare adaptive care modifică rezistența în mod dinamic, permițând senzații realiste, cum ar fi tragerea unei corzi de arc sau clicul declanșatorului unui pistol. Senzorii detectează intrările utilizatorilor și ajustează feedback-ul în timp real, în timp ce integrarea software permite dezvoltatorilor să programeze răspunsuri haptice specifice pentru diferite scenarii. Sistemul este proiectat pentru eficiență energetică, oferind feedback extins fără a afecta semnificativ durata de viață a bateriei, îmbunătățind astfel experiența generală de joc.
Brevetul sugerează că motoarele haptice ar putea fi mai mici decât cele utilizate în controlerele de curent fără a reduce forța răspunsului lor haptic. Asta înseamnă că ar putea fi mai ieftin de fabricat.
Sistemul descris în brevetul Microsoft sună cu siguranță ca ceva care ar putea provoca controlerele DualSense de la Sony. Din păcate, este important să ne amintim că companiile depun brevete tot timpul, dintre care majoritatea nu devin niciodată produse reale. Numai timpul va spune dacă Microsoft decide să dezvolte acest lucru într-un controler funcțional.
