Am vorbit în trecut despre posibilitatea creării unui smartphone al cărui display să se întindă şi pe spatele dispozitivului. Acum, Apple confirmă această posibilitatea şi este o chestiune de timp până vom avea un asemenea dispozitiv.
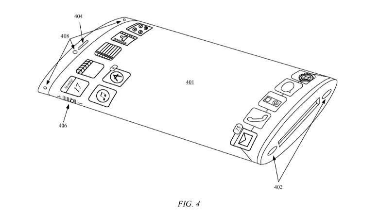
Apple a obţinut patentul pentru tehnologia de dezvoltarea a unui display care se întinde pe toată suprafaţa smartphone-ului. Primul indiciu a venit pentru prima dată în luna martie a anului 2013, când Apple a aplicat pentru obţinerea unui patent care implică dezvoltarea unui display flexibil „înfăşurat în jurul dispozitivului„.
Citeşte şi: iPhone 7 ar putea avea display 3D şi tastatură holografică
Acum, Apple a obţinut un număr impresionat de 28 de patente pentru care a aplicat, iar între acestea se află şi cel pentru dezvoltarea display-ului flexibil. În patentul numărul 9.146.590 este specificat:
„Un dispozitiv electronic compus din: o carcasă cu spaţiu interior. Carcasa are la interior o componentă transparentă cu suprafaţă curbată și un ansamblu de afișaj flexibil cuplat la și în contact cu suprafața interioară curbată a componentei carcasei transparente…„

Acest concept impinge limitele stabilite de LG G Flex dincolo de ce avem în prezent pe piaţă. Cu toate acestea, nu este foarte clar modul în care consumatorul va adopta acest dispozitiv.

Dacă ne luăm după concept, aplicabilitatea este incredibilă. Te poţi uita la poze într-un loop infinit sau poţi rula filme pe toată lungimea display-ului. O altă modificare ar fi renunţarea la butoanele fizice, care s-ar transforma în butoane virtuale.
Citeşte şi: Concept iPhone 7 cu display 2K, încărcare wireless şi design mai subţire
Componentele camerei foto ar trebui construite astfel încât să funcţioneze prin display-ul smartphone-ului. În orice caz, este un concept care merită explorat şi exploatat la maxim.
