Nu este primul brevet controversat pe care Ford (sau multe companii mari) l-a urmărit
WTF?! Mașina este un sanctuar pentru conversațiile private, dar asta poate deveni un lucru din trecut, dacă Ford dezvoltă vreodată un brevet pe care l-a depus pentru a asculta conversațiile în interiorul vehiculului în scopuri de publicitate. Brevetul face parte dintr-o schimbare mai amplă a industriei în care producătorii auto explorează din ce în ce mai mult modalități de a monetiza datele utilizatorilor.
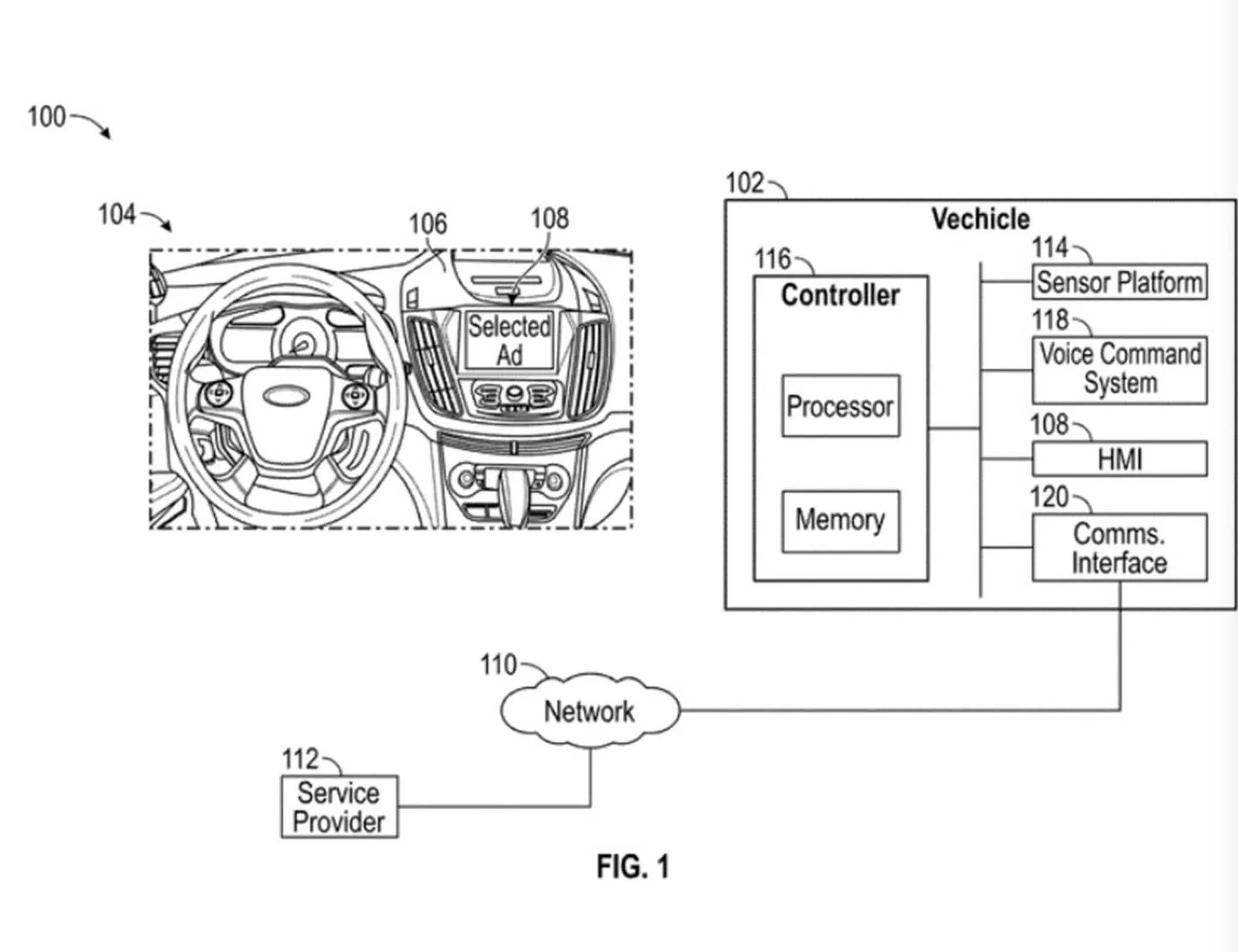
Cererea de brevet Ford conturează un sistem de publicitate în vehicul care ar oferi reclame direcționate șoferilor și pasagerilor. Sistemul ar analiza mai mulți factori pentru a personaliza reclamele, cum ar fi locația vehiculului, viteza, tipul de drum și condițiile de trafic.
Mai controversat, cererea de brevet sugerează că sistemul ar putea monitoriza conversațiile din vehicul pentru a identifica cuvintele cheie care le-ar semnala destinația sau interesele. Apoi, ar adapta reclamele în funcție de faptul dacă călătoria este o călătorie de agrement în țară, de exemplu, sau o programare la o unitate medicală.
Potrivit aplicației, tehnologia urmărește „să ofere oportunități maxime de monetizare bazată pe reclame” prin utilizarea algoritmilor predictivi pentru a determina timpul și formatul optim pentru difuzarea anunțurilor. De exemplu, sistemul ar putea alege un anunț audio în locul unuia vizual dacă pasagerii au fost implicați în conversație.
Aplicația menționează, de asemenea, utilizarea datelor istorice ale utilizatorilor și a informațiilor despre aplicații terță parte pentru a rafina direcționarea anunțurilor.

Ford a apărat raționamentul din spatele cererii de brevet.
„Depunerea cererilor de brevet este o parte normală a oricărei afaceri puternice, deoarece procesul protejează idei noi și ne ajută să construim un portofoliu robust de proprietate intelectuală”, a declarat un purtător de cuvânt Ford pentru The Record. „Ideile descrise într-o cerere de brevet nu trebuie privite ca o indicație a planurilor noastre de afaceri sau de produse”.
Într-o declarație ulterioară, Ford a spus că „va pune întotdeauna clientul pe primul loc în luarea deciziilor din spatele dezvoltării și comercializării de noi produse și servicii”. Cererea de brevet nu oferă detalii cu privire la măsurile de protecție a datelor, ceea ce îi provoacă probabil pe cei care susțin confidențialitatea să se simtă neliniștiți.
De asemenea, trebuie remarcat faptul că s-a descoperit că producătorii auto vând date despre obiceiurile șoferilor la volan către companiile de asigurări auto, care sunt apoi folosite pentru a stabili tarifele de asigurare. Acest lucru sugerează că aceștia văd datele utilizatorilor ca un alt flux de venituri pentru a comercializa părțile interesate, altele decât agenții de publicitate.
Ford a depus alte cereri de brevet care au ridicat probleme legate de confidențialitate.
Un exemplu recent este un brevet pentru „Systems and Methods for Detecting Speeding Violations”, care ar folosi camerele de la bord pentru a captura imagini ale vehiculelor cu viteză, a colecta date GPS și a le trimite direct autorităților de aplicare a legii.
Un alt brevet controversat, pe care Ford l-a abandonat ulterior după critici pe scară largă, a propus un sistem de repunere în posesie a vehiculelor de la proprietarii care au ratat plățile. Sistemul fie va direcționa mașinile cu conducere autonomă către loturi de repunere în posesie, fie ar dezactiva vehiculele standard prin blocarea volanelor, frânelor și aerului condiționat.
