Apple duce o luptă continuă pe un front al inovaţiei, principalul competitor fiind Google. În acest război al patentelor, cel mai nou proiect vine de la Apple şi constă înviziunea Apple pentru un stylus al viitorului.
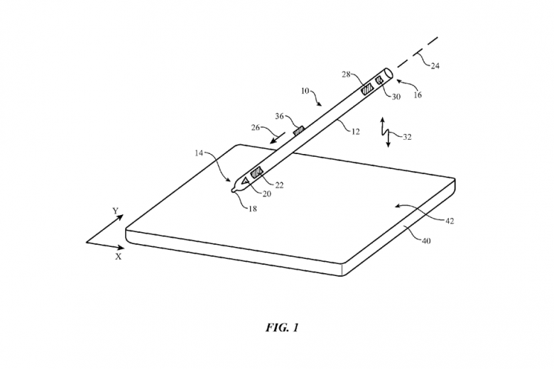
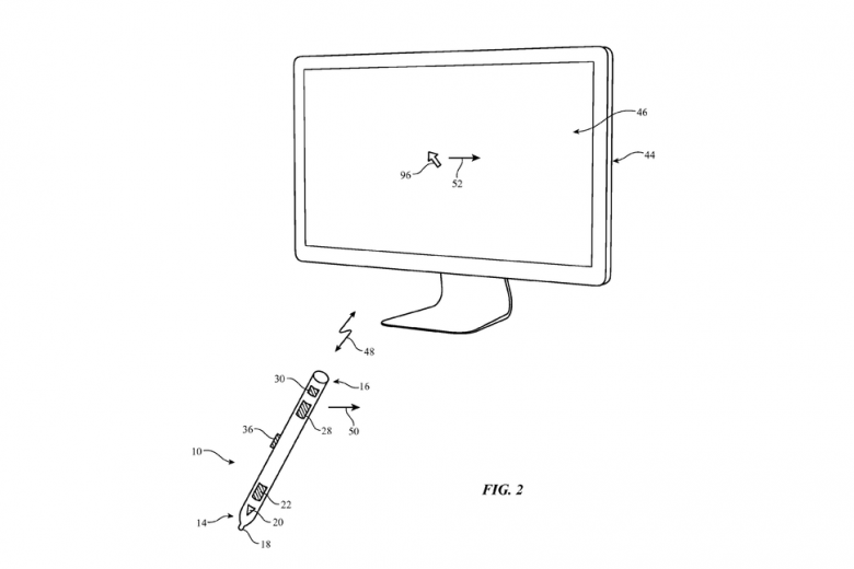
Într-o serie de patente depuse de Apple, există şi un patent pentru un dispozitiv care funcţionează ca un stylus convenţional, dar şi ca mouse şi chiar joystick.
Stylus-ul este un dispozitiv interactiv care a avut perioadele sale de glorie şi declin în ceea ce priveşte publicul de larg consum, dar Apple pare că mizează foarte mult pe acest dispozitiv care, consideră că poate fi un dispozitiv universal.
Apple are viziunea unui stylus care, pe lângă senzorii de presiune, va oferi un control sporit al tuturor dispozitivelor digitale, cu ajutorul unor senzori inerţiali.

Aceşti senzori oferă un nou tip de interacţiune a stylus-ului cu dispozitivele. Prin determinarea poziţiei şi orientării, stylus-ul poate funcţiona ca un mouse standard sau chiar ca un joystick.
Cu toate că Apple a aplicat pentru ob’inerea unui patent pentru acest dispozitiv, trebuie să reamintim (ca de fiecare dată când vorbim despre patente) că asta nu înseamnă că acest produs va ajunge la consumator. Patentul trebuie aprobat înainte ca produsul să intre în faza de proiectare şi dezvoltare pentru producerea primului prototip.

Dacă acest produs este un produs pe care Apple chiar are de gând să îl dezvolte, este un proces care se poate întinde pe o durată de ani buni, înainte de a ajunge la consumatorul final.
Iar dacă acest produs va ajunge la consumator, nu va fi un produs tocmai accesibil, dacă luăm în calcul Apple Pencil, care are un preţ de 100 de dolari.
